您的位置: 硬件 > 商务本 > 新闻详情

苹果新专利:Apple Pencil有望取代Touch Bar

时间: 2022-03-17 09:32 来源:互联网 编辑:艾泽拉斯

据消息,苹果一直在研究如何把Apple Pencil用在MacBook Pro上,来取代Touch Bar的功能。

苹果新专利:Apple Pencil有望取代Touch Bar

Touch Bar是苹果在2016年MacBook Pro上带来的新功能,用以取代传统键盘F1-12及ESC实体键的设计,但是多年来却并未与其他创新那样,获得大量消费者的认可。甚至被称为“鸡肋设计”。

Touch Bar的位置设计是鸡肋的关键,尽管Touch Bar被苹果认为是键盘的延伸,但其触控操作的交互方式本身又与键盘相冲突,还存在不同交互方式间切换所带来的效率损耗问题。

官方指出Touch Bar的最佳视角是45°,也就是说用户在使用时需要将视角从平视屏幕变为俯视Touch Bar,这就导致在使用时,视线会在Touch Bar与屏幕之间来回切换,并在一定程度上割裂用户的视觉、分散注意力。

近日,美国专利商标局公布了一项Apple授予的专利,涉及一种用于MacBook的新输入设备系统,实际就是将Apple Pencil安装到MacBook键盘上。

苹果新专利:Apple Pencil有望取代Touch Bar

从专利可以看出,触摸屏被小的触摸面板取代,之前Touch Bar的位置,取而代之的是一个凹槽,用于存放Apple Pencil。

苹果新专利:Apple Pencil有望取代Touch Bar

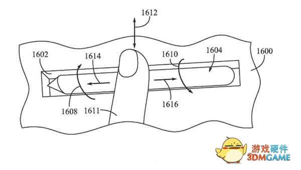
虽然Apple Pencil被固定在凹槽中,但它可以充当移动鼠标来用,可以说是细长版的秒控鼠标,凹槽和Apple Pencil中都内置了照明系统方便用户使用,Apple Pencil上的功能键符号可以替换之前顶部的快捷键。

苹果新专利:Apple Pencil有望取代Touch Bar

其中,触摸面板上有触摸感应区,在用户使用Apple Pencil触摸时,会产生一个可以被电脑识别的信号,之后小的触摸面板便显示虚拟按钮、图标、文本或其他图形元素,供用户选择并完成交互,小触摸板会根据使用场景改变,算是一键多用。

苹果新专利:Apple Pencil有望取代Touch Bar

此外,Apple Pencil还可以从凹槽拿出当输入工具,类似于笔输入设备,当用户触摸Apple Pencil的固定位置时,即可完成功能切换。

在苹果看来,使用Apple Pencil与触摸面板互动,要比手指与Touch Bar的互动更加自然,你觉得呢?

当然,苹果随时都在申请专利,最后是否能变成实物还很难说。

玩家点评 0人参与,0条评论)

收藏
违法和不良信息举报
分享:

热门评论

全部评论