• ROG新品发布会视频报道:次时代电竞路由器降临
      在今天下午,华硕ROG在重庆召开了新品发布会,一共亮相了三款不同定位的路由器产品,但本次发布会的主角还是ROG GT-AC2900这款中高端的电竞路由器。  作为一款标榜电竞路由器的产品,AC2900不只是说说而已。首先它内置了网易UU加速器,可以为手机、PC以及主机进行游戏加速,购买这款产品会附赠三个月的体验时间,后续使用还需要自行充值。这个功能对于PC玩家来说可能吸引力并不是很大,但对于主机玩家来说意义却非常重大。  此外,这款路由器也针对NVIDIA GeForce Now进行了定向优化,可以最大限度地保证这种“云游戏”的体验。并且AC2900也可以在华硕自家的AiMesh体系中使用,并且也加入了会定期更新的AiProtection Pro功能,防止网络攻击。核心参数方面,这款路由器为千兆规格,802
    2021-09-27 17:07:53
  • HyperX ChargePlay Quad十字星与Duo双子星充电底座全新上市
      HyperX在游戏界可谓风头无限,产品线不仅有专业电竞级别的键盘、鼠标、耳机、麦克风,还有围绕电竞外设周边的键帽、键盘托等等。殊不知,HyperX并非只有这些围绕PC的产品,还有针对任天堂Switch以及索尼PS4的周边产品——他们分别是HyperX ChargePlay Quad十字星与HyperX ChargePlay Duo双子星充电底座。  HyperX ChargePlay Quad十字星 四柄同充状态清  针对任天堂Switch,HyperX创新的推出了HyperX ChargePlay Quad十字星充电底座,可以一次支持4个Joy-Con同时充电。  从外观上看,圆形底座同时插入4个Joy-Con,竖立的手柄俨然组成了一个十字,加上圆形底座,“十字星”的命名非常贴切。  在底座的中央,LED
    2021-09-27 17:10:09
  • 索尼PS5曝光:搭载AMD 7nm芯片 预计2020年Q3问世
      4月16日消息,Digitimes援引供应链消息人士称,索尼新一代PlayStation(以下简称PS5)将搭载AMD 7nm芯片。  据Digitimes报道,索尼通过PS4、PS4 Pro大获全胜。PS4近期全球累计销量已经接近1亿台水平,因此PS5的市场关注度空前高涨。   报道称索尼PS5预计将在2020年Q3正式问世,其搭载的AMD 7nm芯片有望在第三季度准备完毕。  业内人士表示,AMD大举转向台积电的怀抱,态度相当积极。在GlobalFoundries(格罗方德)放弃7nm制程后,台积电将是最大受益者。AMD第二季度7nm投片带动了台积电业绩,同时AMD成为台积电的大客户之一。  值得一提的是,目前支持8K分辨率的芯片已经在规划中,但是目前还无法确认索尼PS5是否会支持8K。不过业内人士透露
    2021-09-27 17:28:53
  • 音响品牌跨界产品 Bose推出内置蓝牙耳机的太阳镜
      以往有不少时装品牌推出数码产品,不过音响产品品牌跨界生产时装配件则少之又少,最近音响品牌Bose就推出了一款创新的太阳眼镜产品Bose Frames,将无线蓝牙耳机的功能整合到太阳眼镜,让用户可以轻松地进行户外活动,同时享受音乐随身的乐趣。  Bose Frames不仔细看的话与普通太阳眼镜无异,它有方形和圆形两款镜框设计,镜片除了能够阻隔99% UVA/UVB紫外线,还有防刮防碎裂。不过Bose Frames的最大卖点还是其无线耳机功能,用户毋须将耳机塞进耳朵,因为它内置在眼镜柄,Bose宣称其音质可以及得上一般的耳机,提供令人惊叹的声音。眼镜框的右侧支架有收音孔和物理操作按钮,可以操控耳机开关、配对手机、接听电话、控制音乐播放、呼叫Google Assistant等。其内置电池可以保持待机12小时,或连
    2021-09-27 17:22:50
  • 任天堂靠NES游戏机,23年来销量首次超过索尼、微软
      市场调查机构-NPD Group最新统计报告:今年六月,任天堂NES Classic Mini游戏机在美国的销售量超过了PS4与Xbox One。  分析师-Mat Piscatella指出,NPD自1995年开始监测游戏机销售量,这是任天堂产品首次于单月销售上取得领先。  NES Classic Mini发表于2016年11月,此款产品非常特别,它不支持卡带,在不破解之情况下仅能玩内建的30款游戏。然而,由于任天堂IP的巨大魅力和60美元的便宜价格,它在市场上仍取得了巨大的成功。  不过,当月的游戏机销售额上,PS4仍是胜出的,毕竟价格相差达五倍啊!另外,六月的游戏销售量上,Switch独占的”马里奥网球王牌高手”为全平台的王者。
    2021-09-27 17:42:13
  • 索尼秀8K HDR高清电视!亮度是手机的一百倍!
      近日的CES可谓是水深火热,每个厂商都拿出了王牌,像“军备竞赛”似的,当然索尼秀出了他的宝物。向人们展示了一款完整规格的HDR 8K电视(Full-Spec HDR 8K Display),大小为85寸,分辨率是7680x4320,亮度达到10000 nits的超高数值,这让人超乎想象。  这么高的亮度是个什么样的概念呢?像平常普通的手机亮度仅为区区几百nits,再比如超清4K电视也仅有1000-1500 nits的亮度值,就算是最新规格的DisplayHDR标准最高亮度也才1000 nits。可想而知这款 索尼HDR 8K 10000 nits亮度值有多高了。  杜比视界的规范倒是可以支持这么高的峰值亮度,但理论上后期处理峰值亮度最高也就才4000 nits。目前不清楚10000 nits会是哪个场景,像
    2021-09-27 17:30:30
  • 又是一口热热的冷饭!任天堂即发布经典版游戏机!
      在过去的几个月里,有关发布超级NES经典版的传闻开始在网络上传播。经过多个版本的猜测,任天堂官方终于宣布了这个新游戏机是真实的,并会尽快发布。  超级NES经典版将于9月29日在所有地区发布(天朝是否呵呵就不得而知了)。在北美这台超级任天堂 经典版的价格为79.99美元、收录21款超任平台经典游戏、包括:  《魂斗罗3 异形战争》  《大金刚国度》  《地球冒险2》  《最终幻想6》  《零式赛车》  《星之卡比 超级明星》  《星之卡比 梦想都》  《塞尔达传说 众神的三角力量》  《洛克人X》  《圣剑传说2》  《星际火狐》  《星际火狐2》  《街头霸王2 加速版 究极格斗》  《超级恶魔城4》  《超魔界村》  《超级马里奥赛车》  《超级马里奥RPG 七星传说》  《超级马里奥世界》  《超级银
    2021-09-27 17:52:01
  • 掏空你的钱包 索尼首个4K HDR OLED电视正式发售
      近日,Sony马来西亚正式在InterContinental酒店发布首个4K OLED电视产品线Bravia A1系列,而这款产品在今年的国际消费类电子产品展览会CES 2017上已介绍过。在发布会上,Sony还发布了一系列的4K HDR电视,Full HD HDR电视,与家居音响系统等。  Sony 4k OLED电视Bravia A1系列搭载旗舰液晶电视Z9D同款4K HDR图像处理芯片X1进阶版,可以充分挖掘OLED显示技术“自发光、广视角、高对比度”等天然优势,将其潜能放大,带来更深邃纯净的黑色,更逼真细腻的光影表现以及更精准的色彩管理。同时,通过整合基于对象的HDR动态逐项重塑技术、4K HDR 14Bit平滑渐变及双图像数据库三大核心技术,A1系列电视可对画面对象进行逐帧分析与优化,进一步丰富视
    2021-09-27 17:31:09
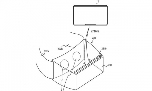
  • Switch将支持VR?任天堂注册Switch头戴显示器专利
      任天堂即将在明年推出新一代游戏机Switch,而任天堂稍早注册了一系列的专利,其中有一项被叙述为头戴显示器(HMD)配件被视为极有可能提供VR的体验,这项配件看起来类似目前常用于智能手机的配件设计,只不过主体换成了Switch。   但注册专利这件事情也不代表任天堂一定就会把这项设备做出来,有时也仅是作为避免概念被他人先注册的预防针,或是先注册再评价是否要推出,不过至少还是给予外界任天堂有能力与可能提供VR体验。 新闻来源:GSMarena
    2021-09-27 17:52:43
  • 索尼 PS VR 是当前消费类虚拟现实设备的赢家
      消费类虚拟现实今天迎来了新的赢家,这就是刚刚推出的索尼 PS VR。目前,市面上的虚拟现实设备有很多,包括类似 HTC Vive 和 Oculus Rift 的高端硬件,以及类似三星 Gear VR 的移动端虚拟现实设备。这类产品有些提出了宏伟的目标,有些被用于军方训练,耗资数百万美元。然而很明显,PS VR 带来了到目前为止最出色的虚拟现实体验。  我自己有一台 HTC Vive,我不会弃用这款产品。我还拥有并使用三星 Gear VR。而在参加了谷歌的 Pixel 发布会之后,我也很有兴趣进一步探索 Daydream VR。如果你在关注,应当购买哪款虚拟现实硬件,那么 卢卡斯对此有详细的介绍 。但尽管如此,对我来说很明显的是,PS VR 在消费虚拟现实市场是新的黄金标准,其技术适合日常
    2021-09-27 17:32:37